Тестовые
вопросы по теме "Вибрации в машинах"
- Основными способами снижения вибрации
механизма являются… (несколько правильных ответов)
1. применение устройств, гасящих динамические
воздействия на машину путем воздействия дополнительными динамическими
нагрузками
2. рессоры, пружины, домкраты
3. применение виброзащитных систем
4. различные муфты
5. регулирование непериодических колебаний
угловой скорости главного вала машины с помощью специальных регуляторов
6. применение устройств, предназначенных для
увеличения сил сопротивлению колебаниям, зависящих от амплитуд и скорости
колебаний
- Вибрационными транспортерами (конвейерами)
называются…
1. транспортные устройства для кругового
перемещения объектов транспортирования
2. контейнеры для перевозки сыпучих материалов
3. транспортные устройства, в которых транспортирование
объектов осуществляется на основе вибрационного перемещения
4. механизмы для накопления перемещаемых
объектов
5. механизмы, предназначенные для создания
периодических воздействий на лоток
- К вибрационным воздействиям
следует отнести…
1. колебания трансмиссии
2. колебания несбалансированного
карданного вала
3. механические воздействия, при
маневре летательного аппарата
4. колебания корпуса
электродвигателя при его работе
5. кратковременные механические
воздействия, связанные с соударениями тел
- Методом виброзащиты
является...
1. снижение виброактивности
источника
2. виброизоляция
3. динамическое гашение
колебаний
4. усиление связей между
источником и объектом
5. изменение конструкции объекта
- Виброгаситель, изображенный на
рисунке, называется…

1. маятниковым
2. катковым
3. пружинным
4. ударным
5. плавающим ударным
- Виброгаситель, изображенный на
рисунке, называется…

1. маятниковым
2. катковым
3. пружинным
4. гироскопическим
5. плавающим ударным
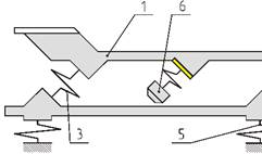
- Виброгаситель, изображенный на
рисунке, называется…

1. маятниковым
2. катковым
3. пружинным
4. ударным
5. плавающим ударным
- Приводом вибротранспортирующей машины
является…
1. вибровозбудитель
2. виброизолятор
3. грузонесущий орган
4. опора
- Механические воздействия
характеризуются…
1. повышением точности обработки
2. разбалтыванием резьбовых
соединений
3. отсутствием шума
4. вредным влиянием на человека
5. срабатыванием релейных
устройств, контактов, включением/выключением муфт
- Источником вибраций в
двигателе является…
1. корпус двигателя
2. коленвал
3. масляный фильтр
4. распредвал
5. водяная помпа
- Принцип динамического гашения
колебаний заключается…
1. в формировании дополнительных
механических воздействий уравновешивающих динамические воздействия источника
2. в уравновешивании вращающихся
масс
3. в ослаблении связей между
источником и объектом
4. в изменении конструкции
объекта
5. в применении различных смазок
между трущимися поверхностями
- К признакам характеризующим
вибротранспортное устройство относится…
1. только привод
2. число степеней свободы,
привод, вид упругих связей
3. только число степеней свободы
4. только вид упругих связей
- Структурная схема
электромагнитной вибротранспортирующей машины является... (1 - грузонесущий
орган; 2 - реактивная масса; 3,4 – вспомогательные упругие связи; 5 –
виброизоляторы, 6 – реактивная часть вибровозбудителя).

1. одномассной
2. многомассной
3. трехмассной
4. двухмассной
- Структурная схема
электромагнитной вибротранспортирующей машины является... (1-грузонесущий орган; 2-вибровозбудитель; 3-упругая связь;
4-неподвижная опора).

1. одномассной
2. многомассной
3. трехмассной
4. двухмассной
- Виброгаситель, изображенный на
рисунке, называется...

1. ударным
2. пружинным
3. плавающим ударным
4. катковым
5. маятниковым
- Уравнение движения механизма с
одной степенью свободы в энергетической форме записывается как (
-
начальные значения соответствующих
переменных)...
1. ![]()
2. ![]()
3. ![]()
4. ![]()
- К линейным уравнениям
колебаний относится уравнение вида...
1. ![]()
2. ![]()
3. ![]()
4. ![]()
email: KarimovI@rambler.ru
Адрес: Россия, 450071, г.Уфа, почтовый ящик 21
Теоретическая механика Сопротивление материалов
Прикладная механика Детали машин Строительная механика