Лабораторная работа №28
Кинематический и силовой анализ
автомобильного дифференциала
Цель работы: знакомство с конструкцией и работой автомобильного дифференциала,
его кинематическими и силовыми характеристиками.
На рис.1 изображена принципиальная схема трансмиссии
автомобиля, начиная с двигателя (1) и заканчивая ведущими (ходовыми) колесами
(6). Цифрами 2, 3, 4, 5 обозначены соответственно сцепление, коробка перемены
передач, карданный вал и главная передача автомобиля.

Рис. 1. Схема
трансмиссии автомобиля:
1-
двигатель; 2- сцепление; 3- коробка перемены передач; 4- карданный вал;
5- главная
передача автомобиля; 6- приводное колесо.
Движение автомобиля обеспечивается двигателем
внутреннего сгорания (ДВС) (1). В нем тепловая энергия топлива преобразуется в
механическую энергию.
Механическая энергия в виде эффективной мощности
снимается с
коленчатого вала двигателя. Для ДВС эффективная мощность выражается в лошадиных
силах (л.с.). Связь между эффективной мощностью в л.с. и крутящим моментом на
коленчатом валу двигателя устанавливается формулой
![]()
где
- частота
вращения в минуту коленчатого вала двигателя.
Крутящий момент
при включенном
сцеплении (2) передается на коробку перемены передач (3). Посредством этой
коробки момент
в зависимости
от включенной передачи имеет на выходном валу коробки то или иное значение M и соответствующее направление (передний ход, задний
ход).
Далее крутящий момент M через карданный вал (4) передается главной передаче
(5), которая изменяет как величину момента M, так и его направление (под углом 900).
Посредством главной передачи (5) крутящий момент
передается
дифференциалу. Последний распределяет величину этого момента между полуосями,
соединенными непосредственно с ведущими колесами (6) автомобиля.
Под действием на полуосях крутящих моментов на ведущих
колесах (6) в местах соприкосновения с дорогой развиваются окружные усилия. Эти
усилия вызывают возникновение равных им касательных реакций дороги. Указанные
реакции при достаточном сцеплении колес с дорогой передаются с задней или
передней оси на корпус автомобиля, сообщая ему поступательное движение.
Назначение дифференциала: обеспечивает возможность
работы ведущих колес (6) автомобиля при разных угловых скоростях вращения
каждого из них. Такая работа ведущих колес наблюдается при поворотах автомобиля
и при движении по неровной или скользкой дороге. Дифференциал не работает
(блокируется) на ровном прямолинейном сухом участке пути.
При отсутствии дифференциала одно из ведущих колес
автомобиля при его повороте (внешнее колесо по отношению к повороту) будет
одновременно с качением скользить по поверхности дороги, что не допускается.
Механизм дифференциала впервые был применен в 1987
году на паровом автомобиле. Однако, несмотря на известность о его
существовании, некоторые автомобили продолжали выпускаться без дифференциала
даже в 20-х годах текущего столетия. Например, отечественный автомобиль “НАМИ-1”
не имел дифференциала.
Наибольшее распространение получили межколесные
дифференциалы с коническими зубчатыми колесами.
КОНСТРУКТИВНОЕ ИСПОЛНЕНИЕ ГЛАВНОЙ ПЕРЕДАЧИ
И ДИФФЕРЕНЦИАЛА
Через главную передачу осуществляется передача вращательного
движения выходным валам (полуосям), связанным с ведущими колесами автомобиля, и
пересекающимся (коническая передача) или скрещивающимся (гипоидная передача)
под прямым углом.
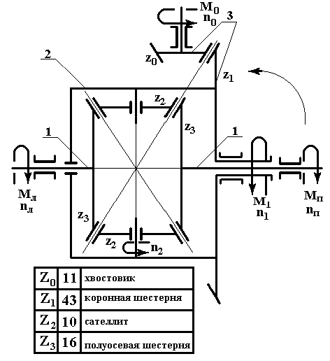
На рис. 2 приведена схема главной передачи и
несимметричного колесного конического дифференциала. Главную
передачу образуют конические колеса (4) с числом зубьев на ведущем колесе -
, на ведомом -
. Ведущее колесо принято называть
“хвостовиком”, а ведомое - “коронной шестерней”. Непосредственно дифференциал образуют зубчатые колеса
с числом зубьев
и
. Зубчатые колеса с числом зубьев
называются

Рис. 2.
Схема ведущего моста автомобиля:
1- полуоси;
2- корпус; 3- карданный вал; 4- главная передача;
5- приводные
колеса; 6 - корпус
“сателлитами”,
а с
- “полуосевыми
шестернями”, т.к. они выполнены непосредственно на концах полуосей (1).
Сателлиты и полуосевые шестерни образуют правильное зацепление друг с другом.
Они помещены в корпус (2), жестко связанный с коронной шестерней (4). Этот
корпус называют “коробкой сателлитов”.
Передаточное отношение главной передачи автомобиля
через число зубьев колес:
![]()
Передаточное отношение самого дифференциала через
числа зубьев колес:
![]()
Передаточное отношение (3) дифференциала называют
внутренним, или еще его называют кинематическим параметром и обозначают буквой P.
Дифференциал, у которого число зубьев
межосевых
шестерен одинаково (как в данном случае), называется симметричным. Для такого
дифференциала внутреннее передаточное отношение или кинематический параметр
![]()
В автомобилестроении главная передача и
дифференциал заключены в корпус (6), который называют
ведущим мостом автомобиля. Этот мост может быть передним (переднеприводной
автомобиль) и задним (заднеприводной автомобиль). Имеют место автомобили с
передним и задним ведущими мостами одновременно (вездеходы).
КИНЕМАТИЧЕСКИЙ АНАЛИЗ
Обозначим:
- частота
вращения (об/мин) левой и
правой полуосевых шестерен и коренной шестерни соответственно. Тогда формула
Виллиса для конического дифференциала принимает вид:
![]()
где
P- кинематический параметр.
Для симметричного конического дифференциала формула
Виллиса
![]()
Знак минус указывает на разноименное вращение полуосей
(или полуосевых шестерен, что одно и то же) при остановленном водиле (корпусе)
дифференциала.
Из формулы (5) следует:
![]()
При движении автомобиля по ровному прямолинейному
сухому участку дороги частота
вращения равна нулю (дифференциал отключен).
При таком движении
![]()
Пусть теперь автомобиль поворачивает, например,
налево, не изменяя скорости движения (
). Установим соотношения между кинематическими величинами
звеньев дифференциала.
При повороте автомобиля сателлиты начинают вращаться с
частотой Q. При левом повороте вращение
левой полуоси
замедляется, а правой
- возрастает.
Замедление и ускорение вращения полуосей зависят от чисел зубьев сателлитов и
полуосевых шестерен.
Чем быстрее вращается сателлит (чем больше Q), тем в большей мере ускоряется правая полуосевая
шестерня и соответственно замедляется левая. Кроме того, на ускорение и
замедление вращения полуосей влияют радиальные размеры полуосевой шестерни и
сателлита.
Передаточное отношение между полуосевой шестерней и
сателлитом:
- через частоту вращения:
![]()
- через число зубьев:
![]()
Сопоставляя правые части, находим:
![]()
При повороте автомобиля, когда включается в работу
дифференциал, приращение частоты вращения полуосевых шестерен будет равно:
![]()
Для правой полуоси (поворот налево)
это приращение будет со знаком (+), для левой - со знаком (-).
Тогда частота вращения полуосей (с учетом вращения
(9)):
![]()
![]()
При этом сумма частот вращения полуосей остается
постоянной и равной (6).
При одной неподвижной полуоси, например, левой, правая
полуось вращается с частотой
![]()
при
из формулы (6):
![]()
Знак (-), как уже было
отмечено, означает, что если одна из полуосей вращается в одну сторону, то
другая полуось вращается в сторону, ей противоположную. При этом частота
вращения полуосей одинакова.
Если теперь при поднятых ведущих колесах автомобиля
остановить коронную шестерню (положить
), то становится справедливым условие (12). Используя
это условие, из зависимостей (10) найдем соотношение для определения частоты
вращения
сателлитов. Подставим в формулу (10) значения приращений
(формула (9)).
Вычитая второе соотношение из первого, получим
![]()
Отсюда находим частоту вращения сателлита:
![]()
Напомним, что дифференциал начинает работать только на
поворотах и при движении автомобиля по неровной или скользкой дороге.
Отметим также, что частота вращения ведущего колеса
автомобиля равна частоте вращения соответствующей полуоси (полуосевой
шестерни).
Скорость поступательного движения автомобиля V определяется через окружную скорость на ободе
ведущего колеса.
Скорость на ободе:
![]()
где
- радиус обода.
Поступательная скорость:
![]()
СИЛОВОЙ АНАЛИЗ
Дифференциал, кроме обеспечения кинематической связи
между коронной шестерней, сателлитами и полуосями, распределяет крутящий
момент, получаемый от хвостовика, поровну между полуосями, если не учитывать
трение между звеньями дифференциала.
Крутящий момент на валу коронной шестерни обозначим
, а соответствующие моменты на полуосях
и
. При одинаковой частоте вращения полуосей и без учета
потерь на трение в дифференциале можно записать
![]()
Когда дифференциал вступает в работу и возникает трение
между его звеньями, то баланс мощностей может быть представлен в виде
соотношения:
![]()
где
- мощность на
полуосях соответственно левой и правой;
- мощность, подводимая к дифференциалу (на валу
коронной шестерни);
- мощность, теряемая на трение в дифференциале.
Мощность трения можно выразить через момент трения
. В лошадиных силах с учетом формулы (9)
![]()
Подставим в формулу (16) значения мощностей в
выражении через крутящие моменты:
![]()
Так как
(формула (2)),
и
(формула (15)),
то
выражение (18) с учетом значений
и
принимает вид:
![]()
После преобразований
![]()
Сократив на
, получим значение крутящего момента на левой полуоси:
![]()
Аналогичное преобразование дает значение крутящего
момента на правой полуоси:
![]()
Соотношения (20) и (21) позволяют определить значения
крутящих моментов на полуосях при работе дифференциала. Из этих соотношений
следует, что момент трения
в дифференциале
перераспределяет нагрузку между полуосями, нагружая одну из них и разгружая
другую.
В конических зубчатых дифференциалах момент трения
![]()
ОПИСАНИЕ И РАБОТА ЛАБОРАТОРНОЙ УСТАНОВКИ

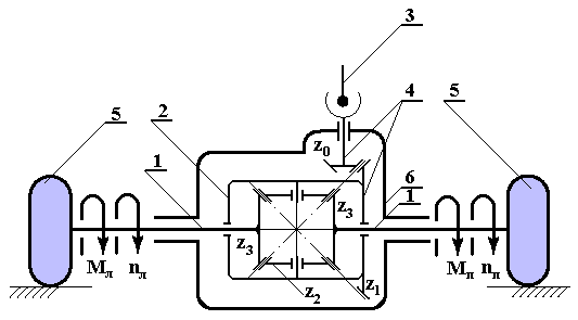
Рис. 3.
Кинематическая схема лабораторной установки:
1- полуоси;
2 - корпус; 3 - главная передача
Кинематическая схема лабораторной установки изображена
на рис. 3. Ее устройство полностью совпадает с устройством дифференциала,
показанного на схеме ведущего моста автомобиля (рис.2) и которая во всех
отношениях (устройство, работа, обозначения) адекватна схеме на рис. 3. Поэтому
при изучении устройства лабораторной установки следует обращаться к разделу
Лабораторной работы №11: “Устройство и работа коробки перемены скоростей”.
Дополнительно к кинематической схеме лабораторной
установки на рис.3 приведена таблица полученных подсчетом чисел зубьев зубчатых
колес главной передачи и дифференциала.
СВОДКА РАСЧЕТНЫХ ЗАВИСИМОСТЕЙ
К и н е м а т и ч е с к и й а н а л и з
Формула Виллиса для конического дифференциала:
![]()
Связь между частотами вращения коронной шестерни и
полуосевых шестерен:
![]()
Та
же связь при движении автомобиля по ровному сухому прямолинейному пути:
![]()
Связь
между частотами вращения сателлитов и полуосевых шестерен:
![]()
Приращение
частоты вращения полуосевых шестерен при повороте автомобиля:
![]()
Частота
вращения полуосей при повороте автомобиля:
![]()
![]()
Частота
вращения полуоси, если одна из них неподвижна,
![]()
Частота
вращения полуосей при неподвижной коронной шестерне
![]()
Частота
вращения сателлита
![]()
Окружная
скорость на ободе ведущего колеса
![]()
Скорость
поступательного движения автомобиля:
![]()
С и л о в о й а н а л и з
Крутящий момент на коронной шестерне:
![]()
Связь между мощностями дифференциала
![]()
Мощность трения
![]()
Крутящие моменты на полуосях
![]()
![]()
Момент трения
Эффективный момент
![]()
Момент на оси коронной шестерни
![]()
где
- крутящему моменту на выходном валу коробки
перемены передач.
ИСХОДНЫЕ ДАННЫЕ ДЛЯ КИНЕМАТИЧЕСКОГО И СИЛОВОГО ИССЛЕДОВАНИЯ
ДИФФЕРЕНЦИАЛА
1. Эффективная мощность двигателя автомобиля:
=70...110
л.с.
2. Частота вращения коленчатого вала двигателя:
=3000...6000
об/мин
3. Эффективный момент
на коленчатом
валу двигателя. При заданных
и
рассчитывается
по формуле (68).
4. Крутящий момент M на выходном валу коробки перемены передач или (что то
же) -
на входном валу
(хвостовике) главной передачи.
Без учета потерь на трение
![]()
где
- передаточное
отношение коробки перемены передач на заданной передаче.
5. Скорость поступательного движения автомобиля
V=70...150 км/час
Примечание. Кинематические и силовые величины
дифференциала определяются при постоянной частоте
вращения
двигателя.
В Н И М А Н И Е ! Задача по
исследованию дифференциала ставится непосредственно преподавателем, исходя из
задания тех или иных исходных данных.
Лабораторную работу по исследованию дифференциала
целесообразно выполнять непосредственно за лабораторной работой, связанной с
анализом коробки перемены передач, назначив при этом вполне конкретную передачу
для определения крутящего момента и частоты вращения на входном валу
(хвостовике) дифференциала.
email: KarimovI@rambler.ru
Адрес: Россия, 450071, г.Уфа, почтовый ящик 21
Теоретическая механика Сопротивление материалов
Прикладная механика Детали машин Строительная механика